|
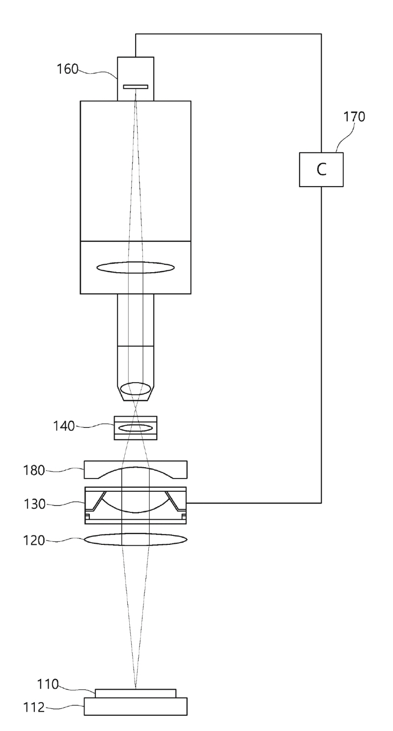
[스포츠조선 장종호 기자] 가톨릭대학교 여의도성모 안과병원 황호식 교수가 최근 다초점 인공수정체 평가 장치 'Optical bench tester for multifocal IOL'의 미국 특허 등록을 완료했다. 이 발명은 다초점 인공수정체(multifocal IOL, 원·근거리 동시 교정 렌즈)의 성능을 객관적이고 신속하게 평가하도록 고안됐다.
황 교수는 "이번 발명은 전기적으로 탈초점을 구현해 다초점 인공수정체의 성능을 빠르고 객관적으로 측정할 수 있도록 한 장치"라며 "평가 결과를 표준화된 데이터베이스로 구축해 안과의사와 백내장 수술 예정 환자들이 병원 홈페이지에서 손쉽게 열람할 수 있도록 하겠다"고 밝혔다.
여의도성모 안과병원은 해당 장비를 기반으로 국내외 다초점 인공수정체의 비교·검증을 진행, 임상 현장에서의 다초점인공수정체 선택의 근거를 확보해 환자 맞춤 치료에 기여할 계획이다.
장종호 기자 bellho@sportschosun.com
|







